全自动馒头机
效率:65个/min
馒头类型:圆形馒头
外形尺寸:1380*450*970(mm)
? ? 
| 外形尺寸 | 1380*450*970(mm) | 效 率 | 65个/min |
| 制造材料 | 优质不锈钢 | 生产产品类型 | 圆形馒头 |
该馒头机主要应用于酒店、院校食堂、企事业单位、中央厨房、面食加工店等。


馒头机整机采用优质不锈钢板制造
耐磨耐用,结构紧凑合理,性能可靠,清洗方便,符合食品卫生要求。

工艺先进 节能高效
关键部件采用减速箱转动,润滑充分,对棍式揉搓双螺杆挤出结构。

优质材料 耐磨耐用
圆钢采用45#优质碳结构,铸件选用HT200,关键零件采用球磨铸铁,电机采用通过3C认证的知名铜芯电机。

馒头机易拆卸 性能平稳可靠
工作机构的齿轮紧挨墙板一侧,易于拆卸,安全可靠。输面部件采用组合设计,方便清洗各部件的零部件采用专用不锈钢制造。

仿手工圆形馒头的成型加工制作
该馒头机能将和好的面团通过推、挤压、切割、滚圆的办法支撑圆形馒头,即按国际标准生产、高效、节能、耐用。
![]()
YS系列馒头机是我厂科技领先的新产品,它能将和好的面团通过推、积压、切割、滚圆的办法制成圆球状馒头。 馒头机整机采用优质不锈钢板材,电机选用3C认证的知名铜芯电机,安全、耐用、节能、噪音低。关键部件采用减速箱传动,润滑充分,对滚式揉搓双螺杆挤出结构。工作机构的齿轮集中在墙板一侧,易于拆卸,安全可靠。输面部件采用组合设计,方便清理各部位的残渣。与面接触的零部件采用专用不锈钢制造。它能将和好的面团通过推、挤压、切割、滚圆的办法制成圆球状馒头,即按国际标准生产,高效、节能、耐用。结构紧凑合理,性能可靠,清洗方便,符合食品卫生要求。
使 用 操 作 说 明 | 试机前,首先用手转动大皮带轮数转,观察手感各运转部位是否灵活,若正常后按机器标示转向通电空载试机10分钟,看有无异常声响,一切正常后,打开右侧门给传动齿轮加少量润滑油HL-20机油。 |
| 将发酵好的发面,加入面粉及适量的碱和水,经和面机搅拌均匀后,便可供馒头机揉制馒头坯用。一般情况下,面粉与水的比例按1:0.4为宜,若面粉质量高(富强粉),则水的比例可适当降低。 | |
| 和好的面,醒一醒为好,使其发大到适当的体积,以保证制成的馒头大则丰满,醒面时间可根据实际条件确定(20-30分钟),温度掌握在38左右为宜。 | |
| 开前左门,将调节手柄右旋到最大位置,给进面斗擦适量的食油,给布面斗放入适量的干面粉,以便使干面粉徐徐地洒落在成形辊到刀口表面上,将多余的干面粉,搁在布面斗二层台平面上,干面粉过量也将影响馒头形成。注意:不要用受潮的面粉,以防面团与刀口及成形辊圆弧粘结,影响馒头成形。 | |
| 开机后将切好的面块连续均匀投入面斗内,面块大小1500克-2000克为宜。工作期间面斗内的面团应始终保持在拨面叶中心以上,以保证送面螺旋能连续均匀的向成形辊部分供面和确保馒头的质量及大小均匀。 | |
| 制好的馒头坯,应首先检查质量,如不合要求,可通过调节手柄进行调节,右旋调小,左旋调大,一般由大往小逐步调节。 | |
| 检查馒头坯表面质量,若两端出现“小尾”再进行调整。调整的方法是打开外壳右侧门,松开装在右墙板上的介齿轮销紧螺母,取下介齿轮,手指摸上下成形辊滚阳牙对准确,让两个刀尖与出面口中心重合位,依阳牙对位为主,刀尖对位为副,将下成形辊顺时针或逆时针转动1-3齿,再装上介齿轮,反复实验,调整直至“小尾”消除。一定要拧紧齿轮螺母,否则上下成形辊会产生相对运动达不到消除“小尾”缺陷的目的。 |
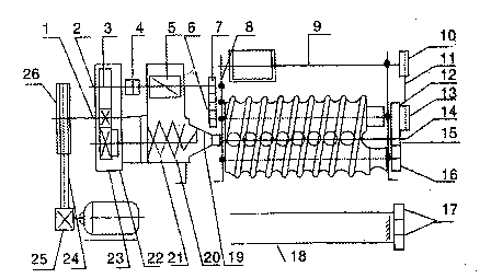
馒头机结构及工作原理

| 1 | 2 | 3 | 4 | 5 | 6 | 7 | 8 | 9 | 10 |
| 齿轮轴 | 压面轴 | Z54齿轮 | 联接套 | 压面板 | 辊子前齿轮 | 大传动轴齿轮 | >前介轮 | 前刷总程 | 大链轮 |
| 11 | 12 | 13 | 14 | 15 | 16 | 17 | 18 | 19 | 20 |
| 链条 | 辊子后齿轮 | 小链轮 | 介轮轴 | 后介轮 | 辊子后齿轮 | 光轴小齿轮 | 光轴小齿轮 | 机头总程 | 副绞龙 |
| 21 | 22 | 23 | 24 | 25 | 26 |
| 主绞龙 | Z41齿轮 | Z60齿轮 | A1400三角带 | φ65皮带轮 | φ280皮带轮 |
维 护 保 养 | 配置与标牌相应的三相闸刀开关和保险丝座的配电箱。接线时要注意电机运转方向与机器所示箭头方向一致 |
| 使用完毕,应对喂料口内的残存面团及成型辊表面进行清理。用随机附带的扳手,逆时针旋转卸下出面锥,将口模内及送面螺杆清理干净,以防干结、堵塞,影响再次使用。清理完后依次装入原位,出面锥不宜旋得过紧,到位即可 | |
| 每次使用前均应给传动齿轮加注少量机油。变速箱内每半年换油一次。打开上盖,箱体左侧有放油堵六角螺栓。用少量煤油清洗后,装上放油堵,加入20#机油0.5kg,用探油针检查油位深20mm,不宜超量,每月用探油针检查一次,机油不足,应及时补充。对各轴承部位地清洗应结合机器检修同时进行,拆下的轴承要用煤油清洗,然后涂上钙基润滑脂方可安装 | |
| 馒头机在运转中绝不允许将扳手、菜刀等物放在机器上,防止掉入机器内造成事故 | |
| 清理喂料口时必须切断电源 |
| 注 意 事 项 | 机器运转中严禁手伸进进料口内 |
| 每天使用后,应把进料口内的残留面渣清洗干净,盖好并锁紧进料口盖 | |
| 机馒头机使用一段时间后,皮带可能出现松弛,可松开电机地脚螺栓,予以调整 |

![]()
陕西大明普威环境科技有限责任公司
联系电话:18091703447
联系QQ:3410374
联系邮箱:dmyxzx@126.com
公司地址:陕西省西安市莲湖区大庆路3号
| * 联系人: | 请填写您的真实姓名 |
| * 手机号码: | 请填写您的联系电话 |
| 电子邮件: | |
| * 采购意向描述: | |
| 请填写采购的产品数量和产品描述,方便我们进行统一备货。 | |
| 验证码: |
|
相关资讯
| 我要评论: | |
| 内 容: |
(内容最多500个汉字,1000个字符) |
| 验证码: | 看不清?! |








大明厨具官方微信
大明厨具官方微博
共有-条评论【我要评论】